莱卡云新上韩国cn2线路vps,线路为去程电信cn2 gia,联通移动直连,回程为电信cn2 gia优化线路,移动联通直连,可选流量款和不限流量配置,同时有弹性配置大宽带可选,韩国原生ip,支持ChatGPT/tiktok,最低月付50元/月起,本文附带简单测评,需要的可以围观。
莱卡云怎么样,莱卡云(lcayun.com)是一家国内正规备案的云服务器商家,隶属于广东莱卡信息技术有限公司,增值电信许可证:B1-20222761,主要销售香港、美国、日本、台湾等海外vps和独立服务器,宿迁、镇江、绍兴、河南、浙江等国内高防云服务器和独立服务器,以及香港站群服务器、日本站群服务器,更有CDN加速等业务,需要的可以围观。

官网:
美国CN2 GIA线路vps套餐:
美国zenlayer数据中心,三网CN2优化线路,大陆访问快速响应,支持ChatGPT
| 套餐 | cpu | 内存 | 硬盘 | 带宽 | ipv4 | 价格 | 购买 |
| 不限流量款 | 1-32核 | 1-128G | 20-100G | 3-20Mbps | 1个 | 55元/月起 | 链接 |
|
大宽带款 |
1-32核 | 1-128G | 20-100G | 20-50Mbps | 1个 | 50元/月起 | 链接 |
站长测评:
配置信息/IO读写/CPU Benchmark测试:

流媒体解锁测试:

ChatGPT/Tiktok解锁测试:支持

FIO测试硬盘读写:

国内三网测试:

Speedtest.net国内国外上行下行测试:

Speedtest亚洲节点上行下行测试:

Iperf3欧美地区的节点的测试:

测试机BIN文件,呼和浩特市电信本地下载测试:

Unix bench Mark性能跑分测试:

其他性能方面的部分测试结果:

国内ping测试:

全球丢包测试:

国内去程测试:

国内三网线路测试:
2023/06/14 13:59:55 正在测试三网回程路由... 2023/06/14 13:59:56 北京电信 219.141.136.12 电信CN2 [优质线路] 2023/06/14 13:59:56 北京联通 202.106.50.1 联通4837[普通线路] 2023/06/14 13:59:56 北京移动 221.179.155.161 移动CMI [普通线路] 2023/06/14 13:59:56 上海电信 202.96.209.133 电信CN2 [优质线路] 2023/06/14 13:59:56 上海联通 210.22.97.1 联通4837[普通线路] 2023/06/14 13:59:56 上海移动 211.136.112.200 移动CMI [普通线路] 2023/06/14 13:59:56 广州电信 58.60.188.222 电信CN2 [优质线路] 2023/06/14 13:59:56 广州联通 210.21.196.6 联通4837[普通线路] 2023/06/14 13:59:56 广州移动 120.196.165.24 移动CMI [普通线路] 2023/06/14 13:59:56 成都电信 61.139.2.69 电信CN2 [优质线路] 2023/06/14 13:59:56 成都联通 119.6.6.6 联通4837[普通线路] 2023/06/14 13:59:56 成都移动 211.137.96.205 移动CMI [普通线路]
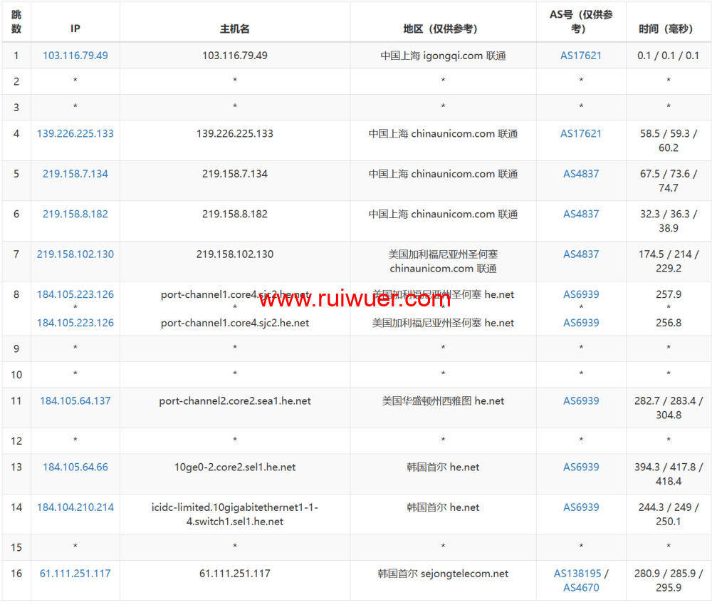
国内四网回程测试:
START -------------------- Round 1 - SuperTrace 路由到 - 北京电信 -------------------- traceroute to 106.37.68.26 (106.37.68.26), 30 hops max, 32 byte packets 1 10.0.1.1 0.12 ms * LAN Address 2 61.111.129.1 0.61 ms AS138195 Republic of Korea, Seoul, sejongtelecom.net 3 10.10.10.17 0.28 ms * LAN Address 4 203.195.115.25 1.69 ms AS4809 Republic of Korea, Seoul, ChinaTelecom 5 59.43.247.41 53.23 ms * China, Shanghai, ChinaTelecom 6 59.43.247.101 76.09 ms * China, Beijing, ChinaTelecom 7 * 8 59.43.131.253 61.42 ms * China, Beijing, ChinaTelecom 9 202.97.42.13 76.45 ms AS4134 China, Beijing, ChinaTelecom 10 36.112.241.66 77.98 ms AS4847 China, Beijing, ChinaTelecom 11 bj141-162-214.bjtelecom.net (219.141.162.214) 79.03 ms AS4847 China, Beijing, ChinaTelecom 12 bj141-160-38.bjtelecom.net (219.141.160.38) 64.15 ms AS4847 China, Beijing, ChinaTelecom 13 * 14 26.68.37.106.static.bjtelecom.net (106.37.68.26) 63.72 ms AS4847 China, Beijing, ChinaTelecom -------------------- Round 2 - SuperTrace 路由到 - 北京联通 -------------------- traceroute to 202.96.18.1 (202.96.18.1), 30 hops max, 32 byte packets 1 10.0.1.1 0.11 ms * LAN Address 2 61.111.129.1 0.62 ms AS138195 Republic of Korea, Seoul, sejongtelecom.net 3 10.10.10.17 0.37 ms * LAN Address 4 * 5 1.213.152.57 48.16 ms AS3786 Republic of Korea, Seoul, uplus.co.kr 6 1.208.106.90 37.79 ms AS3786 Republic of Korea, Seoul, uplus.co.kr 7 211.40.6.210 141.35 ms AS3786 China, Shanghai, uplus.co.kr 8 219.158.113.126 213.70 ms AS4837 China, Shanghai, ChinaUnicom 9 * 10 219.158.16.85 236.93 ms AS4837 China, Beijing, ChinaUnicom 11 * 12 61.148.159.18 161.82 ms AS4808 China, Beijing, ChinaUnicom 13 61.148.74.222 160.17 ms AS4808 China, Beijing, ChinaUnicom 14 202.106.86.4 168.42 ms AS4808 China, Beijing, ChinaUnicom 15 * 16 * 17 202.96.18.1 177.46 ms AS4808 China, Beijing, ChinaUnicom -------------------- Round 3 - SuperTrace 路由到 - 北京移动 -------------------- traceroute to 211.136.66.129 (211.136.66.129), 30 hops max, 32 byte packets 1 10.0.1.1 0.14 ms * LAN Address 2 61.111.129.1 0.64 ms AS138195 Republic of Korea, Seoul, sejongtelecom.net 3 10.10.10.17 0.27 ms * LAN Address 4 223.119.21.13 2.00 ms AS58453 Republic of Korea, Seoul, ChinaMobile 5 223.120.3.117 1.68 ms AS58453 Republic of Korea, Seoul, ChinaMobile 6 223.120.3.98 36.84 ms AS58453 China, Hong Kong, ChinaMobile 7 223.120.22.142 77.38 ms AS58453 China, Beijing, ChinaMobile 8 221.183.55.106 78.10 ms AS9808 China, Beijing, ChinaMobile 9 * 10 221.183.89.102 61.77 ms AS9808 China, Beijing, ChinaMobile 11 221.183.39.110 63.62 ms AS9808 China, Beijing, ChinaMobile 12 221.179.171.21 63.10 ms AS56048 China, Beijing, ChinaMobile 13 211.136.66.129 62.86 ms AS56048 China, Beijing, ChinaMobile -------------------- Round 4 - SuperTrace 路由到 - 北京教育 -------------------- traceroute to 210.31.160.77 (210.31.160.77), 30 hops max, 32 byte packets 1 10.0.1.1 0.10 ms * LAN Address 2 61.111.129.1 0.94 ms AS138195 Republic of Korea, Seoul, sejongtelecom.net 3 10.10.10.17 0.60 ms * LAN Address 4 * 5 10ge0-91.core3.tyo1.he.net (184.105.64.65) 31.94 ms AS6939 Japan, Tokyo, he.net 6 * 7 erx-cernet-bkb-as4538.10gigabitethernet3-2.core1.lax2.he.net (216.218.244.106) 137.89 ms AS6939 United States, California, Los Angeles, he.net 8 101.4.117.185 187.95 ms AS4538 United States, California, Los Angeles, CHINAEDU 9 101.4.117.213 188.86 ms AS4538 China, Beijing, CHINAEDU 10 * 11 * 12 101.4.117.81 186.28 ms AS4538 China, Beijing, CHINAEDU 13 101.4.116.94 186.84 ms AS4538 China, Beijing, CHINAEDU 14 101.4.117.134 186.40 ms AS4538 China, Beijing, CHINAEDU 15 202.112.41.134 631.19 ms AS4538 China, Beijing, CHINAEDU 16 210.31.160.77 185.31 ms AS4538 China, Beijing, CHINAEDU -------------------- Round 5 - SuperTrace 路由到 - 上海电信 -------------------- traceroute to 101.95.89.90 (101.95.89.90), 30 hops max, 32 byte packets 1 10.0.1.1 0.13 ms * LAN Address 2 61.111.129.1 0.69 ms AS138195 Republic of Korea, Seoul, sejongtelecom.net 3 10.10.10.17 0.25 ms * LAN Address 4 203.195.115.25 1.53 ms AS4809 Republic of Korea, Seoul, ChinaTelecom 5 59.43.187.209 38.29 ms * China, Shanghai, ChinaTelecom 6 * 7 59.43.130.213 29.25 ms * China, Shanghai, ChinaTelecom 8 101.95.88.34 24.61 ms AS4812 China, Shanghai, ChinaTelecom 9 101.95.89.90 39.00 ms AS4812 China, Shanghai, ChinaTelecom -------------------- Round 6 - SuperTrace 路由到 - 上海联通 -------------------- traceroute to 219.158.111.253 (219.158.111.253), 30 hops max, 32 byte packets 1 10.0.1.1 0.10 ms * LAN Address 2 61.111.129.1 5.93 ms AS138195 Republic of Korea, Seoul, sejongtelecom.net 3 10.10.10.17 0.60 ms * LAN Address 4 211.53.96.21 58.05 ms AS3786 Republic of Korea, Seoul, uplus.co.kr 5 1.208.167.33 59.07 ms AS3786 Republic of Korea, Seoul, uplus.co.kr 6 1.208.178.82 37.45 ms AS3786 Republic of Korea, Seoul, uplus.co.kr 7 211.40.6.210 190.87 ms AS3786 China, Shanghai, uplus.co.kr 8 219.158.19.86 149.97 ms AS4837 China, Shanghai, ChinaUnicom 9 219.158.111.253 149.94 ms AS4837 China, Shanghai, ChinaUnicom -------------------- Round 7 - SuperTrace 路由到 - 上海移动 -------------------- traceroute to 221.183.89.46 (221.183.89.46), 30 hops max, 32 byte packets 1 10.0.1.1 0.11 ms * LAN Address 2 61.111.129.1 0.89 ms AS138195 Republic of Korea, Seoul, sejongtelecom.net 3 10.10.10.17 2.95 ms * LAN Address 4 223.119.21.13 1.84 ms AS58453 Republic of Korea, Seoul, ChinaMobile 5 223.120.3.113 13.75 ms AS58453 Republic of Korea, Seoul, ChinaMobile 6 223.120.3.210 26.67 ms AS58453 China, Shanghai, ChinaMobile 7 221.183.89.174 28.55 ms AS9808 China, Shanghai, ChinaMobile 8 * 9 221.183.89.46 30.48 ms AS9808 China, Shanghai, ChinaMobile -------------------- Round 8 - SuperTrace 路由到 - 上海教育 -------------------- traceroute to 202.112.27.18 (202.112.27.18), 30 hops max, 32 byte packets 1 10.0.1.1 0.11 ms * LAN Address 2 61.111.129.1 0.70 ms AS138195 Republic of Korea, Seoul, sejongtelecom.net 3 10.10.10.17 0.32 ms * LAN Address 4 * 5 10ge0-91.core3.tyo1.he.net (184.105.64.65) 30.69 ms AS6939 Japan, Tokyo, he.net 6 * 7 erx-cernet-bkb-as4538.10gigabitethernet3-2.core1.lax2.he.net (216.218.244.106) 137.89 ms AS6939 United States, California, Los Angeles, he.net 8 101.4.117.185 184.23 ms AS4538 United States, California, Los Angeles, CHINAEDU 9 * 10 * 11 * 12 101.4.117.173 185.26 ms AS4538 China, Beijing, CHINAEDU 13 101.4.113.109 187.01 ms AS4538 China, Beijing, CHINAEDU 14 * 15 101.4.116.117 195.22 ms AS4538 China, Shandong, Jinan, CHINAEDU 16 * 17 * 18 202.112.27.18 195.44 ms AS24364 China, Shanghai, CHINAEDU -------------------- Round 9 - SuperTrace 路由到 - 广州电信 -------------------- traceroute to 219.135.131.210 (219.135.131.210), 30 hops max, 32 byte packets 1 10.0.1.1 0.10 ms * LAN Address 2 61.111.129.1 0.72 ms AS138195 Republic of Korea, Seoul, sejongtelecom.net 3 10.10.10.17 0.39 ms * LAN Address 4 203.195.115.25 1.60 ms AS4809 Republic of Korea, Seoul, ChinaTelecom 5 59.43.187.209 38.20 ms * China, Shanghai, ChinaTelecom 6 * 7 * 8 59.43.18.45 45.41 ms * China, Shanghai, ChinaTelecom 9 59.43.46.78 61.28 ms * China, Guangdong, Guangzhou, ChinaTelecom 10 * 11 * 12 * 13 183.63.68.238 49.58 ms AS4134 China, Guangdong, Guangzhou, ChinaTelecom 14 206.131.135.219.broad.gz.gd.dynamic.163data.com.cn (219.135.131.206) 63.12 ms AS4134 China, Guangdong, Guangzhou, ChinaTelecom 15 * 16 210.131.135.219.broad.gz.gd.dynamic.163data.com.cn (219.135.131.210) 48.05 ms AS4134 China, Guangdong, Guangzhou, ChinaTelecom -------------------- Round 10 - SuperTrace 路由到 - 广州联通 -------------------- traceroute to 210.21.11.1 (210.21.11.1), 30 hops max, 32 byte packets 1 10.0.1.1 0.12 ms * LAN Address 2 61.111.129.1 2.36 ms AS138195 Republic of Korea, Seoul, sejongtelecom.net 3 10.10.10.17 0.28 ms * LAN Address 4 * 5 1.213.152.57 36.90 ms AS3786 Republic of Korea, Seoul, uplus.co.kr 6 1.208.148.166 36.45 ms AS3786 Republic of Korea, Seoul, uplus.co.kr 7 211.40.6.210 142.49 ms AS3786 China, Shanghai, uplus.co.kr 8 219.158.113.118 220.79 ms AS4837 China, Shanghai, ChinaUnicom 9 * 10 * 11 * 12 210.21.11.1 174.98 ms AS17622 China, Guangdong, Guangzhou, ChinaUnicom -------------------- Round 11 - SuperTrace 路由到 - 广州移动 -------------------- traceroute to 211.136.192.6 (211.136.192.6), 30 hops max, 32 byte packets 1 10.0.1.1 0.10 ms * LAN Address 2 61.111.129.1 1.18 ms AS138195 Republic of Korea, Seoul, sejongtelecom.net 3 10.10.10.17 0.34 ms * LAN Address 4 223.119.21.13 2.29 ms AS58453 Republic of Korea, Seoul, ChinaMobile 5 223.120.3.113 16.81 ms AS58453 Republic of Korea, Seoul, ChinaMobile 6 223.120.3.210 26.72 ms AS58453 China, Shanghai, ChinaMobile 7 221.183.89.170 28.08 ms AS9808 China, Shanghai, ChinaMobile 8 221.183.89.33 28.19 ms AS9808 China, Shanghai, ChinaMobile 9 * 10 221.183.37.133 53.69 ms AS9808 China, Beijing, ChinaMobile 11 221.183.46.174 55.40 ms AS9808 China, Beijing, ChinaMobile 12 * 13 ns5.gd.cnmobile.net (211.136.192.6) 54.85 ms AS56040 China, Guangdong, Guangzhou, ChinaMobile -------------------- Round 12 - SuperTrace 路由到 - 广州教育 -------------------- traceroute to 202.112.19.9 (202.112.19.9), 30 hops max, 32 byte packets 1 10.0.1.1 0.09 ms * LAN Address 2 61.111.129.1 0.64 ms AS138195 Republic of Korea, Seoul, sejongtelecom.net 3 10.10.10.17 0.34 ms * LAN Address 4 121.78.38.137 1.02 ms AS9286 Republic of Korea, Seoul, kinx.net 5 203.246.169.150 0.91 ms AS9286 Republic of Korea, Seoul, kinx.net 6 192.145.251.199 31.00 ms AS14828 United States, Minnesota, Winona, hbci.com 7 69.194.166.214 45.18 ms AS23764 China, Hong Kong, ChinaTelecom 8 121.59.105.142 86.68 ms * China, ChinaTelecom 9 101.4.117.70 97.78 ms AS4538 China, Hong Kong, CHINAEDU 10 101.4.114.181 85.15 ms AS4538 China, Beijing, CHINAEDU 11 * 12 101.4.117.81 85.77 ms AS4538 China, Beijing, CHINAEDU 13 101.4.115.202 86.27 ms AS4538 China, Hubei, Wuhan, CHINAEDU 14 101.4.112.37 86.36 ms AS4538 China, Hunan, Changsha, CHINAEDU 15 101.4.117.34 101.20 ms AS4538 China, Guangdong, Guangzhou, CHINAEDU 16 101.4.114.61 86.54 ms AS4538 China, Guangdong, Guangzhou, CHINAEDU 17 * 18 19.112.202.in-addr.arpa.19.112.202.in-addr.arpa (202.112.19.9) 85.40 ms AS4538,AS24357 China, Guangdong, Guangzhou, CHINAEDU Finished in : 1 min 11 sec Timestamp : 2023-06-14 21:49:14 GMT+8 End
瑞吾尔












