青果网络怎么样,青果网络好不好,青果网络QG.NET定位为高效多云管理服务商,已拥有工信部颁发的全网云计算/CDN/IDC/ISP/IP-VPN等多项资质,是CNNIC/APNIC联盟的成员之一,2019年荣获国家高薪技术企业、福建省省级高新技术企业双项荣誉。那么青果网络作为国内主流的IDC厂商之一,那么其旗下美国洛杉矶CN2 GIA线路云服务器到底怎么样?

官网:https://www.qg.net
促销套餐:
| CPU | 内存 | 系统盘 | 流量 | 宽带 | ip | 价格 | 购买 |
| 1核 | 1G | 20G | 无限 | 10M | 1个 | ¥590元/年 | 点此直达 |
| 1核 | 2G | 20G | 无限 | 10M | 1个 | ¥434.5元/半年 ¥790元/年 | 点此直达 |
| 2核 | 4G | 20G | 无限 | 10M | 1个 | ¥709.5元/半年 ¥1290元/年 | 点此直达 |
测试机器参数
弹性云:青果云
- 线路 : 美国洛杉矶CN2_GIA
宿主机 : 美国洛杉矶BGP-1
CPU : 1核
内存 : 1G
带宽 : 10M
系统盘 : 20G
IP数 : 1个
操作系统 : Centos7.6 - 购买:点此直达
公网IP:23.236.XX.XXX
1、Ping速度测试

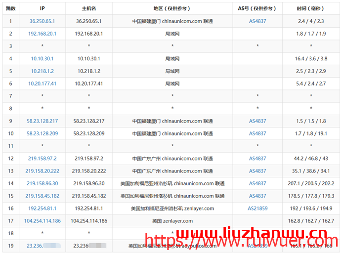
2、去程路由测试
厦门联通:

厦门电信:

厦门移动:

3、回程路由测试

4、带宽路由测试
SpeedTest带宽测试

ipref3 网络带宽测试

5、硬盘IO读写测试
系统自带dd工具读写测试
dd if=/dev/zero of=test bs=64k count=16k conv=fdatasync && rm -f test
![]()
6、性能跑分测试
UnixBench性能测试


瑞吾尔












